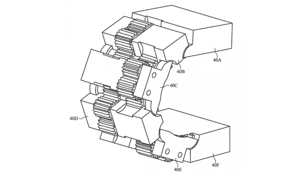
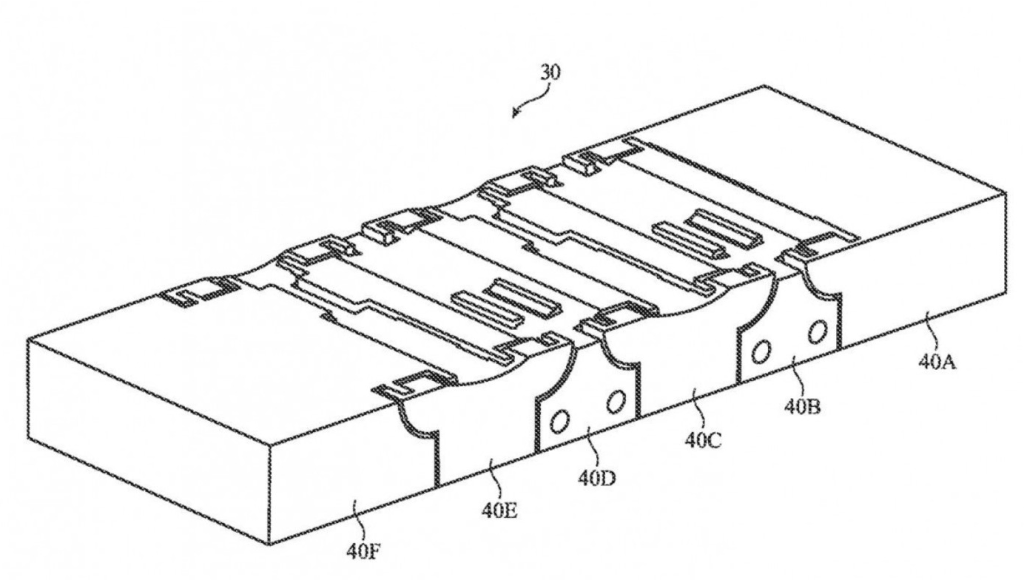
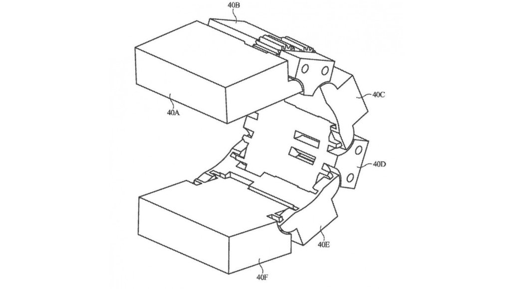
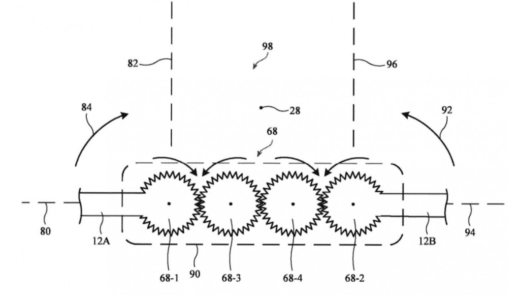
I display pieghevoli per i MacBook sono finalmente in arrivo? Apple continua a lavorare sulla tecnologia pieghevole e ha ottenuto un nuovo brevetto per un innovativo meccanismo di cerniere. Il brevetto descrive un ingegnoso sistema di “dita” interconnesse e fessure a forma di mezzaluna che consentono una rotazione e una stabilità precise. Il meccanismo assicura che i dispositivi pieghevoli siano tenuti in modo affidabile all’angolo desiderato e si muovano senza problemi durante il processo di piegatura. Sembra una “One More Thing” molto interessante e nuova! Cosa ne pensate?
Un nuovo brevetto Apple svela le cerniere per display, tablet e altro ancora pieghevoli
Il nuovo brevetto Apple per i display pieghevoli copre un’ampia gamma di possibili applicazioni e sembra andare oltre gli smartphone. A quanto pare, Apple sta progettando di utilizzare questa tecnologia per tablet, computer portatili, dispositivi indossabili come orologi, monitor e display desktop. Particolarmente interessante è la possibile introduzione nel 2028 di un dispositivo pieghevole da 18,8 pollici che può essere utilizzato come tablet, notebook o display esterno. Tuttavia, gli analisti riferiscono che Apple sta affrontando sfide tecniche nello sviluppo del display e della meccanica, il che ha ritardato l’implementazione finora. E se conosciamo Apple, continuerà a lavorare sul progetto dei “display pieghevoli” fino a quando non avrà creato il gadget perfetto.
Il cuore del brevetto è un meccanismo di chiusura innovativo che aggiunge flessibilità spostando l’asse di rotazione all’esterno delle singole maglie. Allo stesso tempo, gli ingranaggi assicurano che entrambi i lati della cerniera si muovano in modo sincrono. In questo modo, un monitor pieghevole o un dispositivo simile non solo sarebbe visivamente accattivante, ma anche tecnicamente robusto e durevole. Wow!
Sebbene Apple non abbia ancora lanciato un prodotto pieghevole, il brevetto suggerisce un serio interesse per questa tecnologia. Cupertino sembra voler soddisfare le crescenti richieste e tendenze dei display pieghevoli senza compromettere la qualità e la funzionalità. Resta da vedere se e quando uno schermo pieghevole o altri dispositivi di questo tipo saranno effettivamente disponibili. Tuttavia, l’attuale brevetto dimostra l’impegno di Apple nel promuovere un’innovazione lungimirante in questo segmento. Apple, naturalmente!
Ulteriori Informazioni:
*Questo articolo contiene link promozionali che ci aiutano a finanziare il nostro sito. Non preoccupatevi: il prezzo per voi rimane sempre lo stesso! Grazie per il vostro sostegno.
- Viscount Legend 70s MKII evolve lo stage piano modulare con FM e nuovi pianoforti - 17. Gennaio 2026
- Stylophone VOICE porta il campionamento tascabile nel mondo Stylophone - 17. Gennaio 2026
- Austrian Audio The Arranger amplia l’accesso al mondo hi-end - 16. Gennaio 2026




